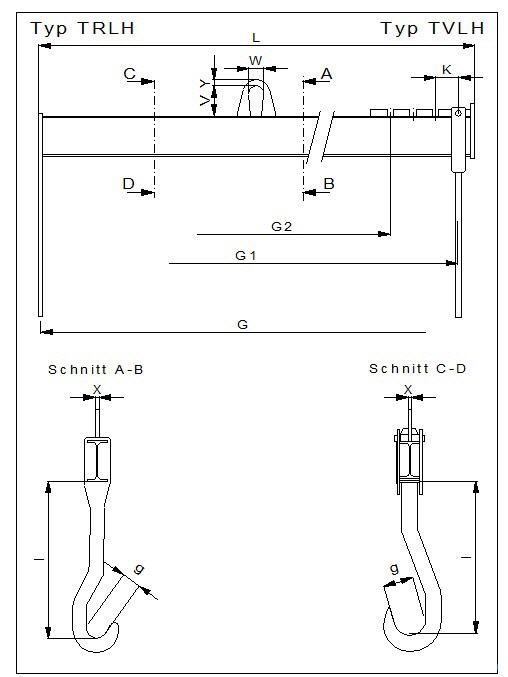
Starre Langhakentraversen

SIEGERT - Langhakentraverse
Haupteinsatzgebiet für Langhakentraversen ist der Transport von Papierrollen. In der Regel wird das Papier. auf einen Tambour aufgerollt, waagerecht transportiert. Die Haken sind entsprechend der geometrischen Form ausgebildet.
Die SIEGERT-Traverse, Typ TVLH besteht aus einem verwindungssteifen Längsträger mit zwei Langhaken im verstellbaren Abstand G1 bis G2. Axial werden die Langhaken formschlüssig gesichert.
Tragfähig- keit (Kg) |
Greifweite längs |
Greifweite quer minimal |
Greifweite quer maximal |
H |
Eigen- gewicht |
Typ |
Preis € |
1000 | 3000 | 500 | 2000 | 580 | 120 | QTV 10/3/2 | |
2500 | 2000 | 500 | 1000 | 710 | 160 | QTV 25/2/1 | |
2500 | 3000 | 500 | 2000 | 750 | 260 | QTV 25/3/2 | |
2500 | 5000 | 750 | 3000 | 850 | 400 | QTV 25/5/3 | |
5000 | 2000 | 500 | 1000 | 860 | 210 | QTV 50/2/1 | |
5000 | 3000 | 500 | 2000 | 1000 | 340 | QTV 50/3/2 | |
5000 | 5000 | 750 | 3000 | 970 | 600 | QTV 50/5/3 |
Tragfähig- keit (Kg) |
Greifweite längs minimal |
Greifweite längs maximal |
Greifweite quer minimal |
Greifweite quer maximal |
H |
Eigen- gewicht |
Typ |
Preis € |
7500 | 500 | 3000 | 500 | 2000 | 1090 | 500 | QTV 75/3/2 | |
7500 | 500 | 5000 | 500 | 2000 | 1090 | 910 | QTV 75/5/2 | |
7500 | 500 | 8000 | 500 | 3000 | 1090 | 1460 | QTV 75/8/3 | |
10000 | 1000 | 3000 | 500 | 2000 | 1270 | 910 | QTV 100/3/2 | |
10000 | 1000 | 5000 | 500 | 2000 | 1220 | 900 | QTV 100/5/2 | |
10000 | 1000 | 8000 | 750 | 3000 | 1100 | 1500 | QTV 100/8/3 | |
15000 | 1000 | 3000 | 500 | 1000 | 1350 | 580 | QTV 150/3/2 | |
15000 | 1000 | 5000 | 500 | 2000 | 1400 | 1200 | QTV 150/5/2 | |
15000 | 1000 | 8000 | 750 | 3000 | 1600 | 1900 | QTV 150/8/3 |
Tragfähigkeit | V | W | X | Y | g | NG Haken |
500 | 105 | 50 | 10 | 15 | ||
1000 | 115 | 55 | 15 | 20 | ||
2500 | 150 | 75 | 20 | 30 | ||
5000 | 190 | 90 | 25 | 40 | ||
7500 | 240 | 110 | 30 | 50 | ||
10000 | 270 | 130 | 30 | 60 | ||
15000 | 330 | 155 | 40 | 70 |

